Viðgerðarbaula Hawle D75-83/200 PN16
Type “K 82”
Þyngd: 1,3 kg
Pipe diameters 54-430, length 150-380
Eiginleikar
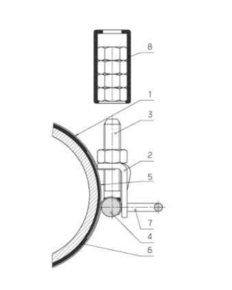
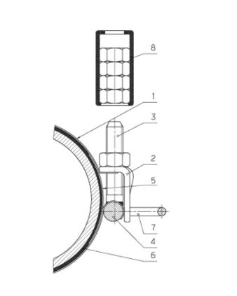
Quick assembly with H-Nut dispenser which prevents loss of nuts into the dirty trench.
- For steel, ductile iron, asbestos cement and PVC-pipes
- The clamp with the self-centring lug system
- Fully encompassing gasket seals complete gaps and other pipe damage
- The bolts (3) are welded to the bolt bar (4). Squeezing the handle makes for easy assembly onto the pipe. The nuts are fed directly to the bolts from a special nut dispenser (8). This eases the positioning of the lugs and bolts and avoids the handling of loose parts.
- Special versions such as larger diameters and other lengths on request
- Tested with new pipes in delivery condition
Ø 54 - Ø 190 PN 16
Ø 190 - Ø 430 PN 10
Attention: NBR rubber required for gas application!