Vatn og Veitur er hluti af Fagkaup ehf./Opið í dag 07:30 - 17:00/575 9300

Verslanir

Fagkaup

Vatn og Veitur er hluti af Fagkaup ehf.
Kt. 670169-5459
Vsk. nr. 11784

Fréttabréf

Áskrifendur fá send tilboð og boð á viðburði beint í pósthólfið

Fyrirtækið

Um okkur
Reikningsviðskipti
Mínar síður
Þjónusta
Starfsfólk

Stefnur & skilmálar

Viðskiptaskilmálar
Persónuverndarstefna
Skilmálar og stefnur
Verklagsreglur og vottanir

Sími

575 9300

Fagkaup

Hitaveitulagnir

/

Viðgerðartengi

/

Viðgerðarklemmur

/

Viðgerðabaula l166 166-178 315

VIÐGERÐABAULA L166 166-178 315
VIÐGERÐABAULA L166 166-178 315
VIÐGERÐABAULA L166 166-178 315VIÐGERÐABAULA L166 166-178 315

Viðgerðabaula l166 166-178 315

EDL01000166

Vörulýsing

Viðgerðarbaula Hawle D166-178/315 PN16
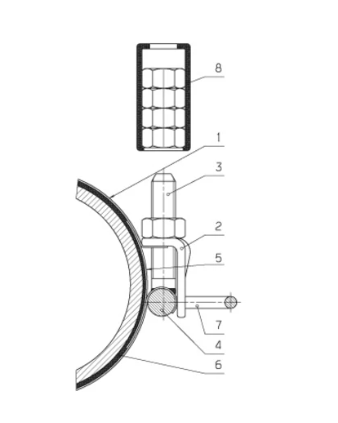
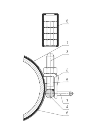
Type “L 166”
Þyngd: 5,5 kg

Pipe diameters 54-430, length 150-380

Eiginleikar

Quick assembly with H-Nut dispenser which prevents loss of nuts into the dirty trench.
 

  • For steel, ductile iron, asbestos cement and PVC-pipes
  • The clamp with the self-centring lug system
  • Fully encompassing gasket seals complete gaps and other pipe damage
  • The bolts (3) are welded to the bolt bar (4). Squeezing the handle makes for easy assembly onto the pipe. The nuts are fed directly to the bolts from a special nut dispenser (8). This eases the positioning of the lugs and bolts and avoids the handling of loose parts.
  • Special versions such as larger diameters and other lengths on request
  • Tested with new pipes in delivery condition
    Ø 54 - Ø 190 PN 16
    Ø 190 - Ø 430 PN 10

Attention: NBR rubber required for gas application!

Tengd skjöl

Sækja skrá

ÍTARUPPLÝSINGAR